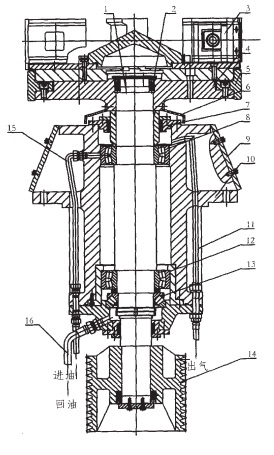
新型沖擊式破碎機傳動軸裝置結構如圖下圖所示,其主要特點如下:

包括1傳動軸2 脹套 3導料板 4飛輪 5邊襯板 6防塵罩 7密封圈 8圓柱孔調心滾子軸承 9軸承座襯板 10軸承座11出氣系統 12圓柱孔調心滾子軸承 13推力調心滾子軸承14皮帶輪 15進油系統 16回油系統
傳動軸裝置總圖
傳動軸與飛輪連接結構在高速旋轉工作中的合理性:如下圖所示連接結構經過了a、b、c 三個階段的改進。
在a階段選擇錐形軸伸的過盈聯接,通過平鍵與錐度來保證兩者緊密配合、 同步旋轉。但在實際加工與安裝時,卻容易碰到加工精度與安裝條件的限制。錐形軸伸要求與軸孔配合表面接觸均勻,著色研合檢驗接觸率不低于70%,所以,安裝要求熱脹安裝或油壓安裝,這兩種條件在石場一般難以提供。而且,鍵槽容易在軸與飛輪安裝面貼合不足時,產生應力集中,率先疲勞撕裂。

于是 進行了b階段的改進-采用脹套及圓柱形軸伸聯接。 脹套裝拆或調整軸與飛輪的相對位置方便,解決了加工精度與安裝條件的問題;承載能力高,可以避免a 階段中鍵槽產生應力集中的問題。還能起到密封的作用;同時由于脹套的工作特性-在過載的情況下將自動打滑松開軸與飛輪的聯接,提供過載保護。但 b階段由于軸肩支撐面較小,影響了飛輪旋轉的穩定性。

繼而確立了c 階段的連接設計:加粗軸徑,以提高軸的剛度:利用軸套加大軸肩支撐面,提高飛輪旋轉穩定性。

破碎機在石場的連續使用,證實了C 設計的合理、 安全、有效性。
2018-11-01
2018-04-24